[順屏]FPK系列 高頻氣動率敲擊器
FPK系列 高頻氣動率敲擊器
可變衝擊力和間隔。
特性
• 高衝擊頻率1,350–4,600 rpm
• 敲擊力195–56,350 N
• 免潤滑
• 溫度120°C下使用
• 可用於多塵環境
• 通過ATEX認證
應用領域
應用範圍廣,例如從桶槽、管壁、過濾器出口等容器壁上敲除粘附材料,非常適合食品、飲料和化妝品。
結構
• 活塞在氣墊上反彈 - 或帶有衝擊板 - 撞在隨附的兩個合成擋板之上
• 提供的不同硬度的擋板提供額外的衝擊調節
• 通過由鈦電解液形成之氧化鋁而產生超硬且無腐蝕性的表面

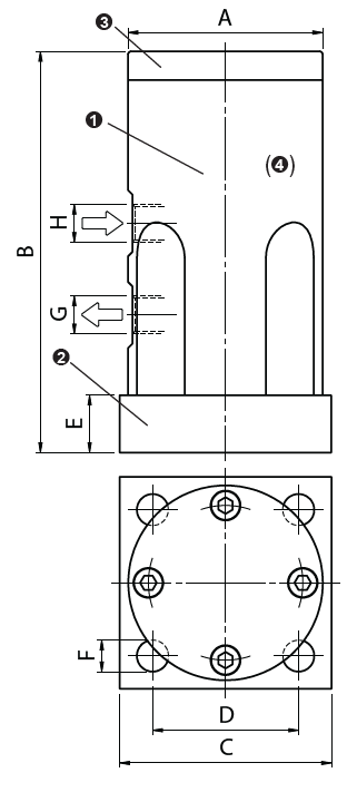
❶ 鋁製外殼硬質埃馬塔爾塗層
❷ 塗佈硬質埃馬塔爾塗層底板
❸ 塗佈硬質埃馬塔爾蓋子
❹ 鋼製活塞
❺ 合成材料擋板

隨附兩個擋板。 硬的(白色)是預先安裝的。
| 規格與重量 | |||||||||
| 型號 | A | B | C | D | E | F | G | H | 重量 |
| mm | mm | mm | mm | mm | mm | 螺紋 | 螺紋 | kg | |
| FPK-40 | Ø68 | 140 | 74 | 51 | 20 | 11 | 1/4" | 1/4" | 1.20 |
| FPK-55 | Ø94 | 191 | 104 | 78 | 25 | 13 | 3/8" | 3/8" | 4.70 |
| 性能資料 | ||||||||||
| 型號 | 擋板 | 振動數(次/分) | 離心振動力(N 牛頓) | 空氣耗量(升/分) | ||||||
| 2 Bar | 4 Bar | 6 Bar | 2 Bar | 4 Bar | 6 Bar | 2 Bar | 4 Bar | 6 Bar | ||
| FPK-40 | none | 2,100 | 2,400 | 2,800 | 195 | 455 | 730 | 93 | 150 | 225 |
| soft | 2,800 | 3,900 | 4,600 | 3,920 | 10,410 | 15,030 | 100 | 195 | 360 | |
| hard | 2,800 | 3,900 | 4,600 | 7,240 | 14,990 | 22,750 | 100 | 195 | 360 | |
| FPK-55 | none | 1,350 | 1,750 | 2,050 | 510 | 1,165 | 1,985 | 162 | 360 | 470 |
| soft | 2,200 | 3,400 | 4,300 | 5,430 | 21,310 | 36,570 | 230 | 380 | 500 | |
| hard | 2,200 | 3,400 | 4,300 | 17,570 | 36,960 | 56,350 | 230 | 380 | 500 | |
本表資料在重型實驗臺上取自Kistler3軸測力計。
當安裝剛性差時頻率和力值會減小
公司名稱:
順屏企業有限公司
電話:
886-2-2762-9850
傳真:
886-2-2768-8905
email:
jade.screen@msa.hinet.net
地址:
台北市南京東路5段389巷5弄11號5樓
主要產品:
工業氣動式振動器 / 工業氣動式震動器 / 氣動振動器

