[順屏]R系列 氣動滾輪振動器
R系列 氣動滾輪振動器
高轉速、高振動力,運用範圍廣。
特性• 高振動力 |
應用領域 • 料斗清空 |
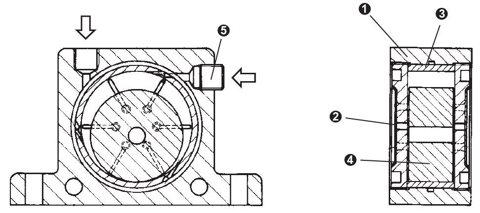
❶ 鋁合金外殼
❷ 塑料蓋板
❸ 鋼鑄件製成的導軌
❹ 鋼製滾輪
❺ 螺絲塞
結構
• 由鋼製的輪轉振動,產生振動力
• 防震塑料蓋板
• 底座有4個安裝孔可供固定
• 可從頂部或側面進氣

| 規格與重量 | |||||||||
| 型號 | A | 寬度 | C | D | E | F | G | H* | 重量 |
| mm | mm | mm | mm | mm | mm | mm | 縲紋 | kg | |
| R-50 | 50 | 29 | 86 | 68 | 12 | 7 | 40 | 1/8" | 0.24 |
| R-65 | 65 | 37 | 113 | 90 | 16 | 9 | 50 | 1/4" | 0.54 |
| R-80 | 80 | 43 | 128 | 104 | 16 | 9 | 60 | 1/4" | 0.95 |
| R-100 | 100 | 52 | 160 | 130 | 20 | 11 | 80 | 3/8" | 1.81 |
| R-120 | 120 | 77 | 194 | 152 | 24 | 17 | - | 3/8" | 4.26 |
| 性能資料 | |||||||||
| 型號 | 振動數(次/分) | 離心振動力(N 牛頓) | 空氣耗量(升/分) | ||||||
| 2 Bar | 4 Bar | 6 Bar | 2 Bar | 4 Bar | 6 Bar | 2 Bar | 4 Bar | 6 Bar | |
| R-50 | 25,000 | 35,000 | 36,000 | 1,070 | 2,920 | 4,220 | 100 | 145 | 195 |
| R-65 | 19,000 | 21,000 | 26,000 | 2,730 | 4,830 | 6,120 | 200 | 300 | 400 |
| R-80 | 15,500 | 18,500 | 19,000 | 3,000 | 6,090 | 7,450 | 290 | 430 | 570 |
| R-100 | 11,000 | 14,000 | 16,000 | 3,750 | 6,750 | 8,900 | 370 | 550 | 730 |
| R-120 | 10,000 | 11,500 | 12,500 | 8,000 | 10,000 | 12,500 | 500 | 730 | 970 |
本表資料在重型實驗臺上取自Kistler3軸測力計。
當安裝剛性差時頻率和力值會減小
公司名稱:
順屏企業有限公司
電話:
886-2-2762-9850
傳真:
886-2-2768-8905
email:
jade.screen@msa.hinet.net
地址:
台北市南京東路5段389巷5弄11號5樓
主要產品:
工業氣動式振動器 / 工業氣動式震動器 / 氣動振動器


